
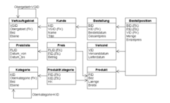
Hallo Leute unzwar ist meine Aufgabe zu diesem Modell die Aufgabe lautet :
Umsatz ’Lima Gartensessel’ über alle Monate des Jahres 2019. Umsatz ist Summe Ge-
samtpreise der Bestellungen. Absteigend sortiert nach Umsatz.( Also die Ausgabe davon in SQL)
Die Lösung sollte so aussehen:
JAHR|MONAT|UMSATZ |
----|-----|---------|
2019| 5|102895.05|
2019| 7| 88448.39|
2019| 6| 85576.91|
2019| 8| 80696.02|
2019| 4| 58121.1|
2019| 11| 56178.97|
2019| 9| 52429.29|
2019| 10| 51164.92|
2019| 12| 44227.92|
2019| 3| 41473.48|
2019| 2| 41159.42|
2019| 1| 38323.6|
aber ich habe leider keine Ahnung wie man das anstellen sollte, weil ich noch kompletter Anfänger in SQL bin. Würde mich über eure Hilfe freuen